Sample Work
Examples of patent illustrations prepared by Pitstop Drawings.
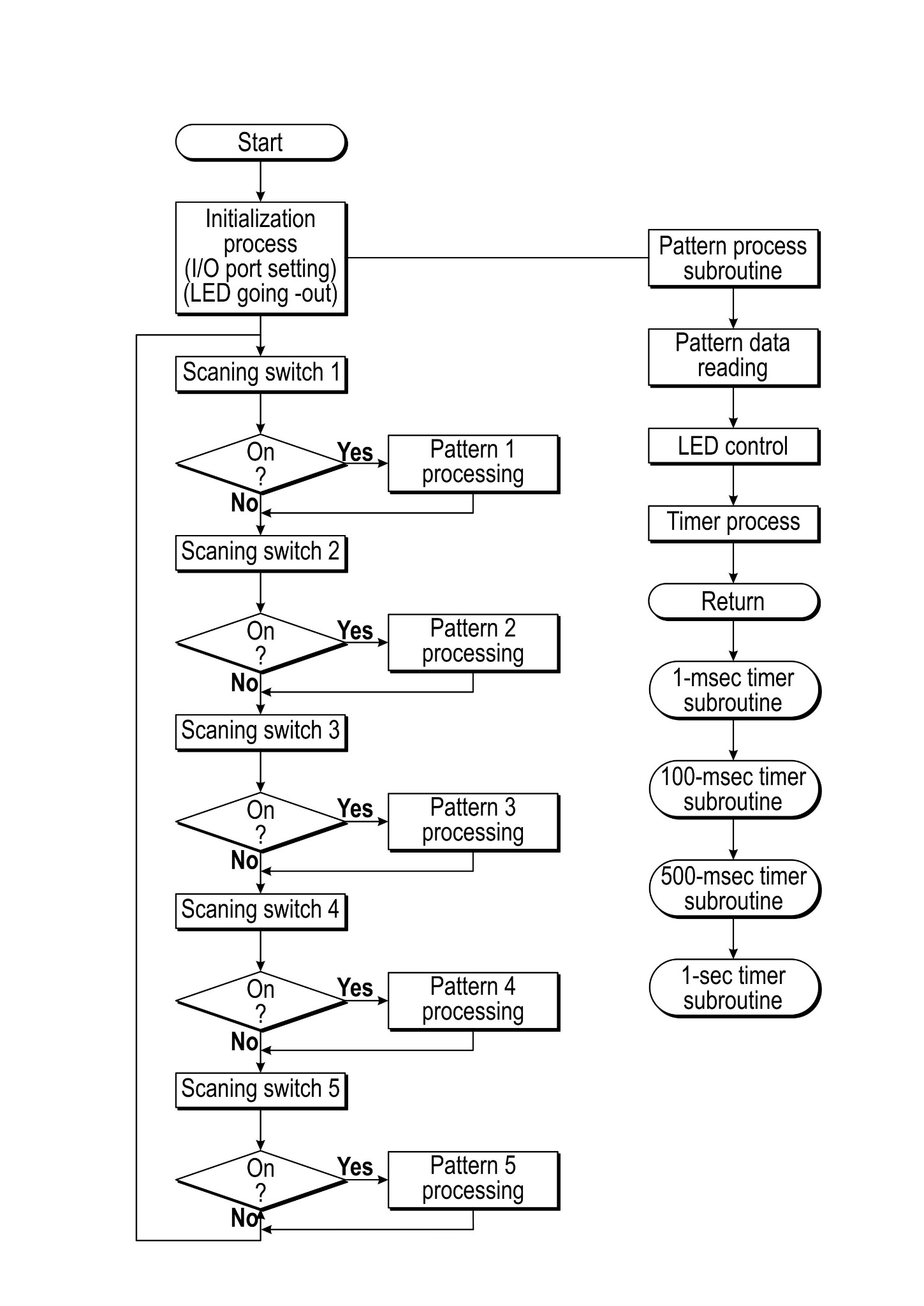
A selection of mechanical drawings, exploded views, diagrams, charts, device figures, and related patent illustrations.















A selection of mechanical drawings, exploded views, diagrams, charts, device figures, and related patent illustrations.














